11月17日早上,华为发布声明表示,在产业技术要素不可持续获得、消费者业务受到巨大压力的艰难时刻,为让荣耀渠道和供应商能够得以延续,华为投资控股有限公司决定整体出售荣耀业务资产,收购方为深圳市智信新信息技术有限公司。
对于交割后的荣耀,华为表示不占有任何股份,也不参与经营管理与决策。
传闻已久的华为出售荣耀一事终于尘埃落定。
01
荣耀七年,不负荣耀
2013年12月,荣耀品牌发布,推出荣耀3C、荣耀3X及华为喵王,成为华为终端发展史上的里程碑事件。
2017年,荣耀以5450万台的销量、789亿元销售额,登上中国互联网手机第一的宝座。
2018年天猫手机双12战报显示,荣耀摘取手机品牌销量、单品销量双冠王。
2019 年荣耀在中国市场份额整体达到 13%,成为排名第四、增长第二的手机品牌,仅次于华为品牌,并且获得2019 科技风云榜“年轻人最喜爱手机品牌”奖。
2020年,荣耀启动“二级火箭”全新战略,全面开启“智能手机市场中国前二,智慧全场景第一品牌的冲锋之路”。
华为剥离荣耀品牌,可以让荣耀品牌绕开美国禁令继续活下去。
从2013年到2020年,从一个产品线,到成为中国互联网手机第一品牌,荣耀的7年,是光荣的7年,与华为的分割独立,也是一次悲壮的自救与重生之旅。

02
分离前夕,华为申请大量”荣耀”商标
让大家关注的不仅仅是华为和荣耀的分离,华为近期申请了大量荣耀有关的商标也引发了热议。
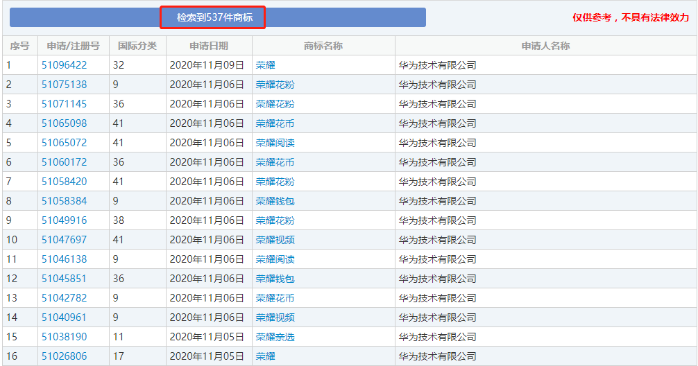
11月5日至11月6日,华为技术有限公司集中申请了多条“荣耀”商标信息,包括“荣耀”、“HONOR”、“荣耀视频”、“荣耀钱包”、“荣耀阅读”、“荣耀花粉”、“荣耀花币”、“荣耀亲选”等,涉及教育娱乐、科学仪器;金融物管,金融物管、通讯服务、科学仪器、教育娱乐等国际分类,甚至还申请了啤酒饮料类别,有网友为“荣耀啤酒”想好了广告语:“荣耀啤酒,勇敢做自己!”,“喝荣耀啤酒,为华为干杯”。
目前,上述商标均处于申请状态中。
华为旗下共有537件荣耀相关的商标申请,11月5日和6日新增了大量商标申请。

图片来源:商标局截图
03
申请商标或为荣耀未来铺路
关于华为大量申请荣耀商标,网友纷纷猜测华为的用意。
有网友认为:这可能是华为先整理注册好了,然后再一起打包卖出去。
也有网友说:可能华为只是想把荣耀独立出去,而不是出售。
也有分析认为华为单独申请荣耀部分功能商标,是为了荣耀剥离独立上市做准备,让荣耀可以全方位发展,所用芯片也更加多元化。
截止目前,华为官方暂未有任何文件透露他们注册此类商标的意图.
一直以来,华为企业的知识产权保护意识都很强,网友调侃注册了整本山海经,商标局官网也显示,华为旗下已超过1万件商标注册申请。

图片来源:商标局截图
华为此番大量申请“荣耀”相关商标,小编猜测也是为荣耀提前做好商标壁垒,为其独立发展打好了知识产权防卫,毕竟商场如战场,晚一天注册,可能就完全是另外的结局,与其往后陷入商标苦战,不如未雨绸缪,早日申请保护。
毕竟荣耀以后就要成为一个完全独立的品牌,知识产权各方面的保护必不可少。